在建筑垃圾中,建筑拆遷產生的廢料中除了混凝土塊以外,還有砂石,木塊,紙屑,塑料袋等,其中混凝土塊是可以作為路基使用的;木塊,紙屑以及塑料袋等輕物質也有其各自的用途,如果不加以區分的將上述廢料統一處理,不僅會引起可用資源的浪費,而且會由于互相干擾而彼此影響使用質量。該設備的目的在于提供一種輕物質分離器,以除去建筑垃圾中的木塊、紙屑、廢塑料等輕物質。
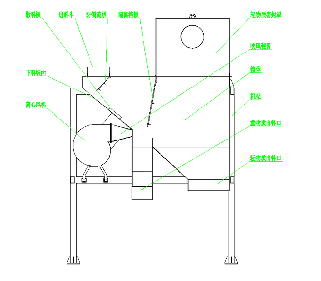
輕物質分離器包括機架,風管風選箱及離心風機,風選箱固定在機架上,風選箱具有物料進口,重物質出口和輕物質出口,另外風選箱內還設有下料坡面,下料坡面的上端位于風選箱的物料進口處,下端與重物質出口相連,下料坡面的背面連接有吹風裝置,該設備在使用時,物料從進口進入風選箱,在重力的作用下,物料延下料坡面自動滑落,物料滑落到重物質出料口處時,吹風裝置將建筑垃圾中的輕物質吹到輕物質腔里收集后處理,重物質則通過重物質出料口排出風選箱。


結構特點:
1.風選箱內,所設的下料坡面及坡面上所設的散料板,既減緩了物料滑落的速度又降低了料層的厚度,更有利于輕物質的充分分離。
2.風選箱內,所設下料坡面對面的防倒流板,可起到阻止被吹出的輕物質從進料斗倒流出去,還能兼具緩沖物料的作用。
3.風選箱內位于重物質出口及輕物質出口之間所設上下延伸的隔離擋板,將風選箱分割成重物質腔及輕物質腔,防止被風選出的輕物質返回與重物質混合在一起。隔離擋板上的透風窗口,正對吹風裝置的吹風口,既提高了風選的效率又阻擋了輕物質向重物質腔里漂移。
4.風機設在下料坡面的背面,風機的出風口與吹風裝置相連,如此近距離的設計既減少了風阻,又提高了風選效率,另外風機的進風口用風管連接在輕物質腔的頂部,如此可減小輕物質腔里的風壓,利于輕物質在重力作用下下落。
適用范圍及優勢:
1.該輕物質分離器可用于建筑垃圾生產線中木塊,紙屑以及塑料袋等輕物質的分離。
2.該輕物質分離器動力部分只有一臺3kw的離心風機,運行成本低,節省用電量。
3.該輕物質分離器結構簡單,重量輕,既節省制作成本又減少工人對設備的維修維護。
設備參數:
